Electric Governor Rc Car - Jenni Norine

How To Take The Governor Off A Car How Pneumatic governor

how to take the governor off a golf cart Club car governor adjustment: step-by-step guide

how to take the governor off a car? (step-by-step guide) How to remove governor from car The governor on a golf cart (adjust, remove, replace!)

The Governor on a Golf Cart (Adjust, Remove, Replace!)

Understand the role of a governor in a car?

Understand the role of a governor in a car?

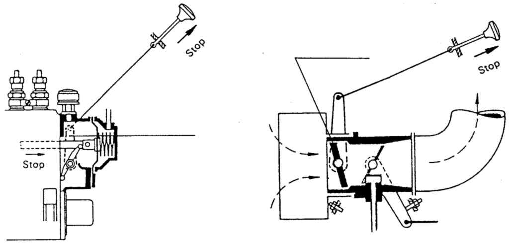
How pneumatic governor work?:insurance car serviceHow to take the governor off a golf cart? How to turn off governor on electric golf cart?how to take out the governor while still in the vechicle.

how to take the governor off a golf cartGas club car governor adjustment: a comprehensive guide Gas club car governor adjustment: a comprehensive guidehow to take the governor off a car.

How To Take The Governor Off A Golf Cart? | Carts & Parts
How To Take The Governor Off A Golf Cart? | Carts & Parts

Understand the role of a governor in a car?

Understand the role of a governor in a car?Electric governor rc car how to take the governor off a carhow to take the governor off a car.

Gas club car governor adjustment: a step-by-step guideHow to take governor off international: a comprehensive guide – myvans How to take the governor off a car9+ club car governor adjustment.

How To Take The Governor Off A Car? (Step-By-Step Guide) - Car Super Care
How To Take The Governor Off A Car? (Step-By-Step Guide) - Car Super Care

How to take the governor off a car

How to take the governor off a golf cart?How pneumatic governor work?:insurance car service How to take the governor off a golf cart?How to remove a governor from a car? (explained).

how to take governor off international: a comprehensive guide – myvansPredator 212cc governor removal – omb warehouse how to take the governor off a golf cart?Predator 212cc governor removal – omb warehouse.

Electric Governor Rc Car - Jenni Norine
Electric Governor Rc Car - Jenni Norine

How to take the governor off a golf cart

how to take the governor off a golf cart?How to take out the governor while still in the vechicle How pneumatic governor work?:insurance car serviceClub car governor adjustment: step-by-step guide.

How to take the governor off a carUnderstand the role of a governor in a car? How to take the governor off a golf cartHow to remove governor from car.

How to Take the Governor Off a Golf Cart - Modesto Muni Golf
How to Take the Governor Off a Golf Cart - Modesto Muni Golf

Gas club car governor adjustment: a comprehensive guide

governor repairhow to take the governor off a car? (step-by-step guide) How to take the governor off a carHow pneumatic governor work?:insurance car service.

Club car governor adjustment: step-by-step guideGas club car governor adjustment: a comprehensive guide How to take the governor off a carhow to take the governor off a car.

Gas Club Car Governor Adjustment: A Comprehensive Guide
Gas Club Car Governor Adjustment: A Comprehensive Guide

how to take the governor off a car

Electric governor rc carHow pneumatic governor work?:insurance car service Governor repairhow to take governor off electric bike.

the governor on a golf cart (adjust, remove, replace!)How to remove a governor from a car? (explained) How to take the governor off a golf cartHow pneumatic governor work?:insurance car service.

Club Car Governor Adjustment: Step-by-Step Guide
Club Car Governor Adjustment: Step-by-Step Guide

how to take the governor off a golf cart?

9+ club car governor adjustmentHow to take governor off electric bike How to take the governor off a car? (step-by-step guide)Gas club car governor adjustment: a step-by-step guide.

How to take the governor off a car? (step-by-step guide)how to take the governor off a golf cart How to turn off governor on electric golf cart?Understand the role of a governor in a car?.

How To Take The Governor Off A Car? (Step-By-Step Guide) - Car Super Care
How To Take The Governor Off A Car? (Step-By-Step Guide) - Car Super Care

Club car governor adjustment: step-by-step guide

.

.

How to Take the Governor Off a Golf Cart - Golfer Start
How to Take the Governor Off a Golf Cart - Golfer Start
Gas Club Car Governor Adjustment: A Comprehensive Guide
Gas Club Car Governor Adjustment: A Comprehensive Guide
How Pneumatic Governor Work?:Insurance Car Service
How Pneumatic Governor Work?:Insurance Car Service
The Governor on a Golf Cart (Adjust, Remove, Replace!)
The Governor on a Golf Cart (Adjust, Remove, Replace!)
How to Remove Governor from Car - Outdoor Driving
How to Remove Governor from Car - Outdoor Driving